Ano, to je správná otázka. Bude iPhone 5S mít NFC? Já už odmítám, po loňském fiasku (ano, přiznáváme to, i my se někdy sekneme), na tuto otázku jakkoliv odpovídat. Jestli na to ale máte vlastní názor, budeme rádi, když nám dáte vědět do diskuse nebo na sociální sítě.
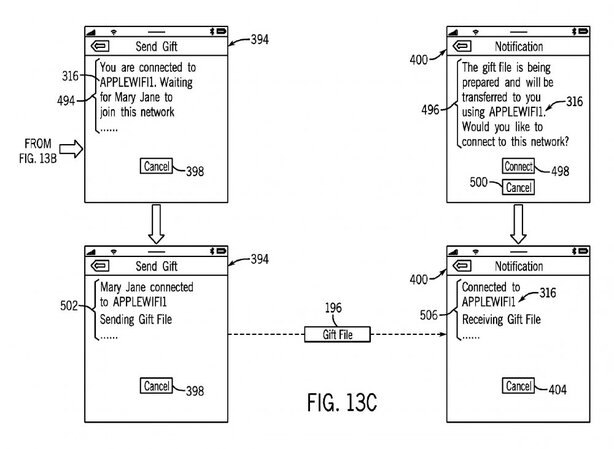
Ale zpátky k tématu. Apple si včera podal přihlášku na další patent, ve kterém se NFC objevuje. Jedná se o dávání dárků v podobě zakoupeného obsahu v iTunes. Koupíte si písničku, a budete ji moci někomu dát třeba k svátku. Docela dobrý nápad.
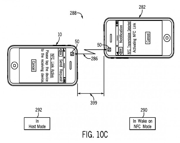
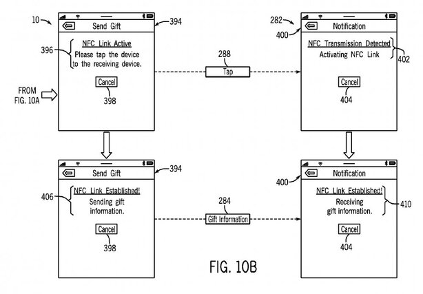
Na podaném patentu nás ale zaujalo něco úplně jiného. Předání dárku by totiž kromě emailu mělo probíhat přes NFC. Vyberete písničku, kliknete, že ji chcete darovat a pak už se jen dotknete druhého iPhonu. A nic se nestane – protože iPhone NFC nemá.
Toto není ani první a nejspíš ani poslední patent, který si Apple podal a zmiňuje v něm NFC. A jak se zatím ukazuje, to že si Apple podá patent využívající nějakou technologii, vůbec neznamená, že ji někdy začne využívat. Natož, že bude v dalším představeném zařízení.
Na druhou stranu podaný patent odhaluje to, že Apple o NFC ví a pracuje s ním, alespoň tedy v rámci vývoje. V patentu je zmíněna i možnost odeslání zabaleného souboru s DRM ochranou přes WiFi, opět s autentizací přes NFC. Mimo to můžete k dárku přidat třeba i fotku nebo video s nahraným přáním. A to úplně vybízí k tomu, že nějak takhle bude fungovat i sdílení běžného obsahu: kontaktů, fotek, videí.
Jedno je však jisté. Jak se ukazuje, NFC se rozjíždí i bez Applu. Takže možná ještě jednou Apple bude litovat toho, že místo patentů nedotáhl raději reálnou implementaci.
